
用途:
乳化罐适用于化妆、医药、食品、化学、染色、印刷油墨等工业品的生产,尤其对基质粘度大,固料含量比较高的物料配制乳化更显功效。
(1)化妆工业品:面霜、乳液、口红、香波等
(2)医药工业品:软膏、糖浆、眼药、抗生物质等
(3)食品工业品:果酱、奶油、人造黄油等
(4)化学工业品:化学药品、合成粘剂等
(5)染色工业品:颜料、氧化钛等
(6)印刷油墨:彩色油墨、树脂油墨、报纸油墨等
(7)其他:颜料、蜡类、涂料等
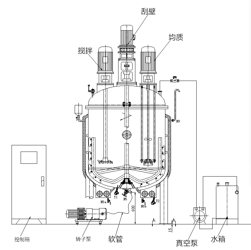
结构:
设备有乳化锅,乳化系统, 搅拌系统,温控系统,冷却系统,加热系统, 安全系统以及管道,阀门等组成。

技术参数:
型号 | 30L | 50L | 100L | 200L | 500L | 1000L | 2000L | 3000L | 5000L | 10000L | 50000L |
直径 | 300 | 300 | 400 | 500 | 700 | 900 | 1200 | 1300 | 1500 | 1800 | 3100 |
高度mm | 1600 | 1700 | 2000 | 2300 | 2600 | 3000 | 3800 | 4300 | 4500 | 5300 | 8000 |
灌装量 | 65%-80% | ||||||||||
罐内压力 Mpa | ≤0.1 | ||||||||||
夹套压力 Mpa | ≤0.1 | ||||||||||
冷却方式 | 夹套 | 管子 | |||||||||
搅拌速度 rpm | 0--60 | ||||||||||
乳化速度 rpm | 2800 | ||||||||||
电机功率 kw | 1.1 | 1.5 | 1.5 | 2.2 | 3 | 4 | 5.5 | 7.5 | 15 | 22 | 50 |
特征:
1:混合系统采用单向或双向刮壁混合,以满足不同的工艺要求
2:变频调速。
3:材料可根据工艺要求加热或冷却
4:电加热或蒸汽加热
5:各种形式的混合叶片适用于生产不同类型的产品。
6:采用进口SUS304或SUS316L不锈钢制成。对罐体和管进行镜面抛光
7:底部安装型分散头和FLUKO管道式乳化头可选,可加速材料的溶解和乳化。
8:不锈钢电控柜可完全监控设备运行,显示温度,混合转速等数据。
9:高速分散(均质器)强烈混合分散的厚,固体,液体。
化妆品生产机器;化妆品生产机器; 化妆品生产罐; 日化学搅拌容器; 洗涤剂搅拌锅炉; 洗涤剂搅拌罐
安装:
1将机器放在平地上并检查它是否稳定,如果没有,请将腿调整到稳定
2请检查它是用蒸汽还是电加热。如果用蒸汽加热,将蒸汽管法兰连接到蒸汽锅炉管并安装安全压力阀,加热时必须注意蒸汽压力并连接蒸汽疏水阀
如果机器是通过电加热的,则根据电气图将电加热器连接到控制箱
3根据电气图纸将电机和温度传感器线连接到控制箱
4检查所有仪表和传感器是否正常工作
5工作前清洁水箱
注意:
在工作时必须注意压力和温度,必须根据参数的要求。
安装图片:

成品:

上一款:没有了!
下一款:洗液乳化罐
在线购买